力泰机械
Jul 22 2022
LITAI MACHINERY
什么是全自动塑料杯热成型机?这个问题相信每个刚入行的人都会问。简单来说,它就是一台生产塑料杯的机器。但我们可能还会遇到其他问题。在本文中,作为全自动塑料杯热成型机供应商的力泰,将重点解答关于全自动塑料杯热成型机的问题,旨在让您清楚地了解这款机器。此外,力泰的全自动塑料杯热成型机将在本文末尾进行介绍,您可以点击此处访问相应的产品页面来熟悉这款机器。如果您想了解更多关于运输和售后服务的详细信息,欢迎直接联系我们。
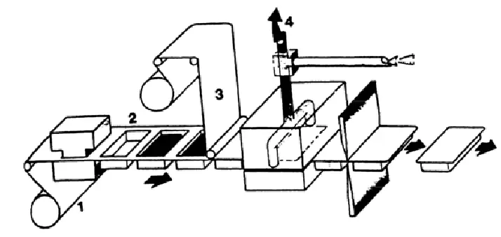
全自动塑料杯热成型机(又称平板硫化机、橡胶硫化机、小型压片机、自动压片机)是一种成型机械,适用于橡胶、塑料工业中的聚合物如PVC、色母粒等化工原料,可作为工厂批量生产前配料的依据,将塑料或橡胶原料置于模具内,夹在上下电热板之间,在电热板智能恒温下加压,使原料成型。

塑料水杯常用的材质有太空玻璃和AS塑料。太空玻璃又称PC工程塑料,是全球广泛使用的材料,其主要成分是聚碳酸酯。这种材料轻巧耐用,具有优异的绝缘性、延展性、尺寸稳定性、耐化学性,以及高强度、耐热耐寒的特性。它还具有自熄性、阻燃性、无毒、可着色等优点。缺点是与金属相比硬度不足,导致其外观更容易被刮伤。
AS塑料是丙烯腈(A)和苯乙烯(S)的共聚物,具有中等耐候性,不受高湿度环境影响,耐一般油脂、清洁剂及温和酒精,抗疲劳性较差,不易因内应力而开裂,材料透明度高。常用于制作托盘、水杯、餐具、牙刷、仪表镜、包装盒等塑料制品。
全自动塑料杯热成型机的注塑成型 是利用塑料的热物理特性,将物料从料斗加入料筒,通过料筒外部的加热圈加热,使物料熔融。物料在螺杆剪切的双重作用下逐渐塑化、熔融、均化。当螺杆旋转时,物料在落料槽的摩擦力和剪切力的作用下,将熔融的物料推向螺杆头部。
与此同时,螺杆在物料的反作用下后退,使螺杆头部形成储料空间,完成塑化过程,然后螺杆在注射缸活塞的作用下,将储料室内的熔融物料以高速、高压经喷嘴注射到模具的型腔中,型腔内的熔融物料经过保压、冷却、固化、定型后,在锁模机构的作用下,模具打开,定型后的制品经顶出装置从模具中顶出。

本文到此结束,更多问题及相应解答将在下一篇文章中列出。
TTF系列全自动热成型机是我司最新研发的核心产品。该款全自动塑料杯热成型机集成型、冲孔、切割、堆叠等工序于一体,应用广泛,可满足大多数客户的需求,可生产塑料托盘、容器、盒子、盖子等产品。该机器完全由伺服电机驱动,运行稳定、噪音低、效率高、质量高。

采用德国西门子工业人机界面及PLC,自动化程度高,控制准确,操作方便,文件存储功能简化了操作流程。
工作台采用稳定的四导柱(GCr15钢,外部镀硬铬)结构传动,耐磨损,延长设备使用寿命。
采用日本安川拉伸伺服电机控制上下模速度,保持拉伸力均匀,确保每个杯底厚度均匀。
液压驱动系统可提供足够的运动速度和强大的冲击力。
整个部件采用液压系统驱动,可靠、稳定,采用美国ROCKWELL接近开关,模具定位精度高。
加热器添加真空保温棉,响应速度快,处理时间短,节省能源。
夏普链条采用65#Mn,比45#钢强度更高,耐热性、弹性更好。
电动润滑油泵在无人值守的情况下,通过计算机控制,自动定时定量注入润滑油,可以使旋转
送料伺服电机采用日本安川(YASKAWA)品牌,额定功率为3Kw,确保送料过程中运行稳定。
力泰机械有限公司成立于2001年。20多年来,我们始终致力于实现自动化塑料包装机械的生产制造。我们专注于研发、生产和销售四/三工位热成型机、塑料杯热成型机、BOPS塑料热成型机、多层PP/PS/PET片材挤出机、模具等。我们是国内首家集热成型、冲孔、切割、堆叠、输送、计数、包装为一体的全自动塑料杯生产线制造商。
